Product
Classification
Tel: +86-535-3410889
E-mail: order@ytgaohong.com
Features
1. Utilizes high-quality imported copper materials and durable structures, coupled with oil seals and O-rings exclusively developed in collaboration with Japan’s NOK factory, ensuring rigorous multi-item inspections before leaving the factory.
2. Employs advanced powder coating technology to protect the valve body, enabling stable operation in harsh environments such as high/low temperatures, humidity, and dust, thereby guaranteeing equipment reliability.
3. Offers diverse configurations and options, including various protective sleeves, and valve bodies, allowing equipment manufacturers to customize solutions based on specific application requirements for different excavator setups.
Working Principle
The valve's opening and closing can be controlled by stepping on the pedal, eliminating the need for direct contact, thereby freeing both hands for simultaneous operations.
Application
Suitable for excavators, skid steer loaders, backhoe loaders, wheel loaders, forklifts, truck cranes, aerial work platforms, and various construction machinery, meeting hydraulic control requirements across diverse equipment.
Specification
| Max Input Pressure | 50bar |
| Rated Pressure | 40bar |
| Rated Flow | 20L/min |
| Back Pressure | 3bar |
| Work Oil | 46# Anti-wear Hydraulic Oil |
| Oil Temperature | -20~90°C |
| Oil Cleanliness | NAS 9 |
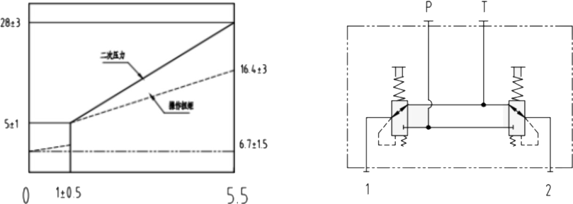
Pressure Curve & Hydraulic Circuit

Dimensions
